Descriere
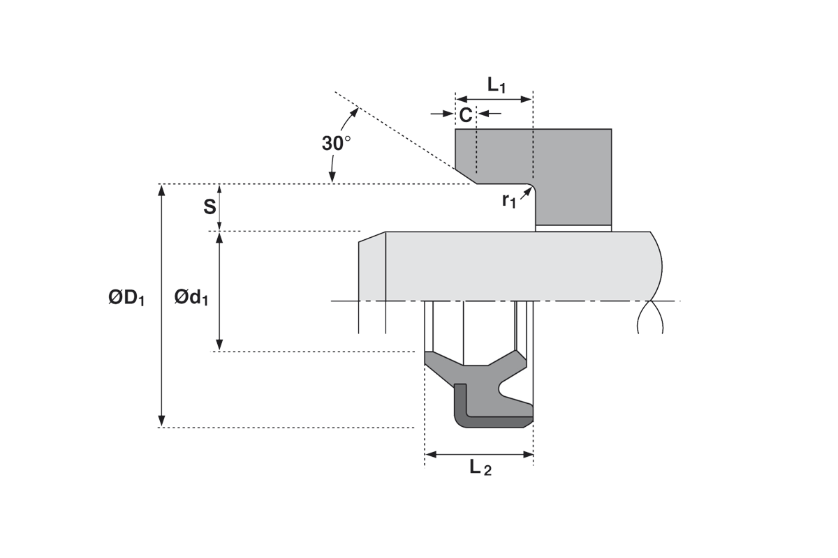
A864 este proiectat pentru presare în spații de instalare axial deschise. Este alcătuit dintr-un element din poliuretan co-vulcanizat cu o colivie metalică protejată împotriva coroziunii.
Designul cu raclor dublu previne, de asemenea, scurgerile prin indepartarea peliculei de ulei din interiorul sistemului de etansare in directia etansarii tijei. Raclorul a fost dezvoltat pentru a fi utilizat in combinatie cu etansari cu capacitate de retur (de exemplu, S663).
Aveti intrebari? Suntem bucurosi sa va ajutam!
| Numar articol | material2 | temperatura max (°C) | diam ext D1 (mm) | lïimea profilului s (mm) | temperatura min (°C) | înÃl¯ime spa¯iu montare (mm) | diam int d1 (mm) | diam guleruluixxx (mm) | viteza max (m/s) | L2 înÃl¯imea buzei (mm) | tip | combina¯ia de material | material1 | |
|---|---|---|---|---|---|---|---|---|---|---|---|---|---|---|
|
4680206
PU-Metall-Doppelabstreifer A864-50x62x7/10 |
metal | 110 | 62 | 6 | -30 | 7 | 50 | 1 | 10 | A864 | PU/metal | PU |
Informatii suplimentare dupa autentificare
|
|
|
4680506
PU-Metall-Doppelabstreifer A864-25x35x5/8 |
metal | 110 | 35 | 5 | -30 | 5 | 25 | 1 | 8 | A864 | PU/metal | PU |
Informatii suplimentare dupa autentificare
|
|
|
4680606
PU-Metall-Doppelabstreifer A864-30x40x5/8 |
metal | 110 | 40 | 5 | -30 | 5 | 30 | 1 | 8 | A864 | PU/metal | PU |
Informatii suplimentare dupa autentificare
|
|
|
4680706
PU-Metall-Doppelabstreifer A864-30x42x6/9 |
metal | 110 | 42 | 6 | -30 | 6 | 30 | 1 | 9 | A864 | PU/metal | PU |
Informatii suplimentare dupa autentificare
|
|
|
4680806
PU-Metall-Doppelabstreifer A864-35x45x7/10 |
metal | 110 | 45 | 5 | -30 | 7 | 35 | 1 | 10 | A864 | PU/metal | PU |
Informatii suplimentare dupa autentificare
|
|
|
4680906
PU-Metall-Doppelabstreifer A864-35x47x7/10 |
metal | 110 | 47 | 6 | -30 | 7 | 35 | 1 | 10 | A864 | PU/metal | PU |
Informatii suplimentare dupa autentificare
|
|
|
4681006
PU-Metall-Doppelabstreifer A864-40x50x5/8 |
metal | 110 | 50 | 5 | -30 | 5 | 40 | 1 | 8 | A864 | PU/metal | PU |
Informatii suplimentare dupa autentificare
|
|
|
4681106
PU-Metall-Doppelabstreifer A864-40x52x7/10 |
metal | 110 | 52 | 6 | -30 | 7 | 40 | 1 | 10 | A864 | PU/metal | PU |
Informatii suplimentare dupa autentificare
|
|
|
4681206
PU-Metall-Doppelabstreifer A864-45x55x7/10 |
metal | 110 | 55 | 5 | -30 | 7 | 45 | 1 | 10 | A864 | PU/metal | PU |
Informatii suplimentare dupa autentificare
|
|
|
4681306
PU-Metall-Doppelabstreifer A864-45x57x7/10 |
metal | 110 | 57 | 6 | -30 | 7 | 45 | 1 | 10 | A864 | PU/metal | PU |
Informatii suplimentare dupa autentificare
|
|
|
4681406
PU-Metall-Doppelabstreifer A864-55x69x8/11 |
metal | 110 | 69 | 7 | -30 | 8 | 55 | 1 | 11 | A864 | PU/metal | PU |
Informatii suplimentare dupa autentificare
|
|
|
4681506
PU-Metall-Doppelabstreifer A864-60x74x8/11 |
metal | 110 | 74 | 7 | -30 | 8 | 60 | 1 | 11 | A864 | PU/metal | PU |
Informatii suplimentare dupa autentificare
|
|
Montaj
Introduceti raclorul direct in tesitura alezajului carcasei (nu inclinati!!) si apasati-l folosind un manson pentru a preveni deteriorarea buzei de stergere.
Domenii de utilizare
Designul cu raclor dublu previne, de asemenea, scurgerile prin indepartarea peliculei de ulei din interiorul sistemului de etansare in directia etansarii tijei. Raclorul a fost dezvoltat pentru a fi utilizat in combinatie cu etansari cu capacitate de retur, cum ar fi S663.
Avantaje
- ușor de montat
- buza raclorului de precizie cu retur optim al peliculei de ulei
- colivie metalică protejată împortiva coroziunii.
- potrivit pentru condiții de funcționare ușoare, medii și grele.